Livraison gratuite dès 300 EUR d’achat

Newsletter
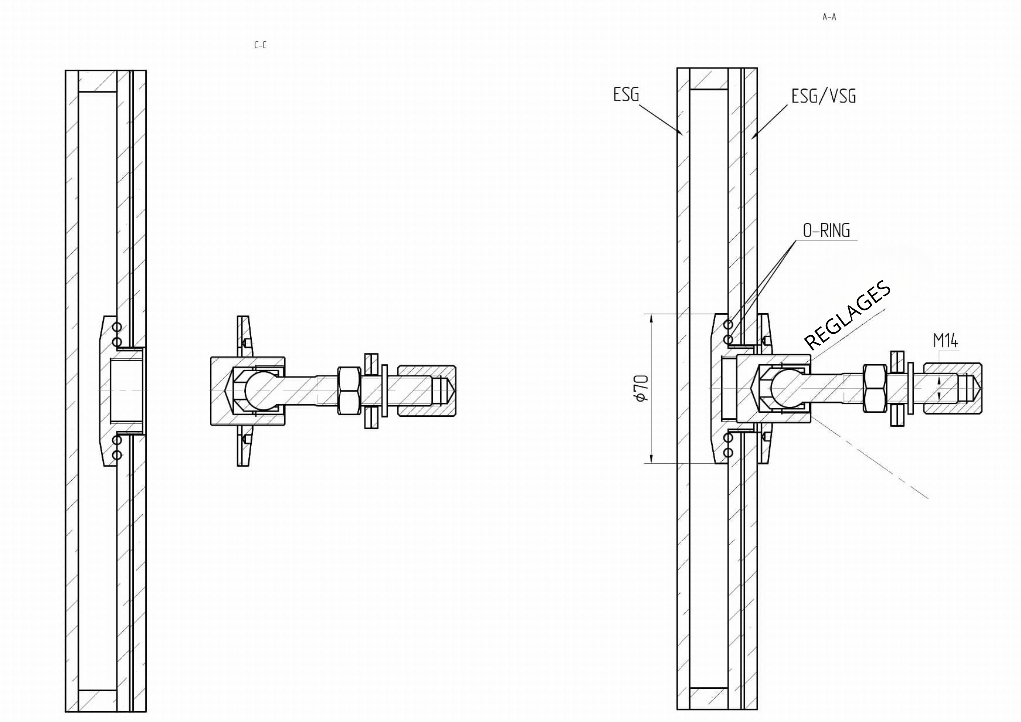
Fixation rotulée vitrage isolant 70mm, AISI 316, brossé
Disponible
Stockage
Données techniques
| Diamètre | ø 70mm |
| Tige de montage | M12 |
| Epaisseur de verre | 12-21.52mm |
| Perçage minimal dans le verre | ø 40,5mm |
| Joint Caoutchouc | Silicone |
| Acier | AISI 316 |
| Surface | Brossé |
| Surface de montage | Surface plate |
| Réglage | Oui |
| Type de réglage | sous un angle de ± 13° |
| Contient du bois | NON |
Description
Solution pour façades en verre isolant
L’un des moyens de connecter une rotule au verre isolant consiste à installer la fixation à travers la feuille intérieure du vitrage, du côté intérieur du bâtiment. Cette configuration protège les éléments structurels contre les conditions météorologiques, ce qui augmente leur durabilité et leur fiabilité.
Elle facilite également le montage et l’entretien, puisque l’accès aux fixations se fait depuis l’intérieur, sans intervention sur la surface extérieure de la façade.
Cette solution permet de conserver une surface vitrée lisse et esthétique, et l’absence de trous dans la feuille extérieure élimine le risque d’infiltrations et améliore l’isolation du vitrage. Elle réduit aussi l’impact des variations de température sur la liaison verre–métal, diminuant ainsi le risque de contraintes et de fissures. À l’intérieur, la présence visible des rotules apporte un caractère moderne.
Structure de la fixation ponctuelle
1. Partie avant de la rotule
C’est l’élément monté dans l’une des feuilles de verre avant le processus d’assemblage du vitrage isolant. Il doit répondre aux critères suivants :
-
Étanchéité – obtenue grâce à l’utilisation d’un double joint torique, d’une bague en nylon et de silicone, empêchant le contact direct entre le verre et le métal tout en amortissant les contraintes.
-
Précision d’ajustement – le diamètre du trou dans le verre doit être adapté au corps métallique avec une tolérance ne dépassant pas +0,5 mm.
-
Durabilité des matériaux – résistance à la corrosion, à la fatigue et au vieillissement, garantissant la stabilité du système sur le long terme.
Le matériau utilisé (acier inoxydable AISI 316) conserve ses propriétés mécaniques durant toute la durée de vie de la façade. Il est résistant à l’humidité, aux UV, aux variations de température et reste chimiquement neutre vis-à-vis des silicones et plastiques utilisés pour l’étanchéité.
La conception de cette partie de la fixation ne doit pas dépasser le plan du verre extérieur afin de permettre le bon processus d’assemblage. Il est recommandé d’utiliser du verre VSG/ESG, garantissant la résistance mécanique et la sécurité.
2. Corps de la fixation
C’est l’élément qui relie la partie avant de la rotule à la tige de fixation. À l’intérieur se trouve un joint sphérique permettant un montage en angle et réduisant les contraintes dans le verre lorsque la façade travaille.
Un anneau de serrage en acier, séparé du verre par une rondelle en plastique, est vissé au corps.
Son rôle principal est de presser la partie avant de la rotule contre le verre — cette étape se fait après l’assemblage du vitrage.
3. Tige de fixation
Cet élément possède une extrémité sphérique du côté du verre et est fabriqué en acier inoxydable AISI 316.
Sa longueur et son diamètre sont définis selon l’épaisseur du vitrage isolant et les exigences statiques de la structure.
La tige transmet les charges principales du verre vers la structure porteuse et constitue un élément clé de tout le système de fixation.
Conclusion
La solution de fixation ponctuelle présentée permet de concevoir des façades modernes, esthétiques et fonctionnelles, tout en garantissant la durabilité et la sécurité de la construction.
Commentaires sur le produit (0)
Avis clients